入门指南

欢迎使用 mai专利吧!本指南将帮助您快速开始。

如何注册账号

打开任意mai专利吧页面,点击右上角"登录",首次使用请用"短信登录",会自动创建用户

短信登录

登录方式

支持短信登录和密码登录。

修改密码

首次登录后请修改密码,后续可直接密码登录,更方便。在【个人中心】点击"修改密码",修改密码页面会提示默认生成的密码。

公众号操作

绑定微信

登录后,点击右上角手机号码,在弹出的下拉菜单选中绑定微信,自动出现公众号二维码,用微信扫码,公众号提醒“绑定成功”即可。

如需解除绑定,向公众号发送“解除绑定”即可。

关闭免打扰

微信默认将公众号免打扰,请将公众号置顶并在手机端关闭免打扰。

关闭免打扰路径:点开mai专利吧公众号→点击右上角头像→点击右上角三个点→点击菜单中的设置→取消勾选消息免打扰。

新客户提醒

新客户通过专属链接注册登录后,公众号实时推送新客户提醒。

新客户提醒

新消息提醒

有客户通过专属链接发送专利信息,公众号实时推送新消息提醒。

新消息提醒

核心功能指引

搜索专利

您可以通过分享ID、申请号、关键词、多条件、专利类型、专利用途、智能匹配等方式搜索所需专利。

专利展示

如图,鼠标移至预留状态会自动显示到期时间,鼠标移至剩余天数和截止日期会自动显示应缴费用。

点击专利申请号或名称可以进入专利详情(摘要、应缴费用、著录项目等),未公开专利不展示。

专利详情

导出或生成分享链接

在专利详情页或列表页或个人中心备选清单页,点击"导出",均可生成您的专属分享链接(点击右上角分享链接按钮,一万条内),也可以直接导出Excel表格(一千条内)。

导出专利

导出专利包括导出选中的专利、导出检索的专利、导出本页专利以及导出全部专利,只有导出选中、导出检索结果、导出本页可以生成分享链接,分享链接有效期30天

分享链接

复制专利

在专利列表页或个人中心备选清单页,可以点击按钮复制单件或多件专利信息。

页面右上方“复制选项”按钮可以设置需要复制的内容,分别是仅复制申请号/带价格的专利信息/不带价格的专利信息;如果选中“带复制后缀”,可以在复制的专利信息后自动加入复制后缀【可在个人信息内设置】。

复制专利

备选专利

在专利列表页,可以点击“备选”按钮将当前单件或多件专利加入备选清单。

备选清单

专利列表页右下角数字代表备选专利数量,点击可进入快捷备选清单管理;也可在个人中心管理完整备选清单。

备选清单

智能匹配指引

智能匹配

您可以在专利列表页搜索框输入求购信息,并点击“智能匹配”,系统会自动识别关键词及需求并返回搜索条件【专业会员(每日100次)及其客户(每客户每日5次)独享】,若有识别不够精确的可以手动修改搜索条件再次点击“搜索”。

搜索框输入"求购建筑实用,来得及费减,个人的",系统自动识别关键词【建筑】、检索条件【申请人、费减天数】

智能匹配 智能匹配

多条件检索

搜索专利时,点击“多条件”,添加不同条件即可搜索到包含所有条件的专利【专业会员及其客户独享,不限次数】。

多条件检索

多申请号检索

搜索专利时,输入多个申请号可搜索到相应专利,多申请号之间要分隔开,分隔符不限。

多关键词检索

搜索专利时,输入多个关键词可搜索到分别包含关键词的专利,多关键词之间用“+”分隔开。

专利监控系统

专利监控系统帮助您对已监控的专利进行全方位的生命周期管理,包括年费监控、状态预警和变更流程跟踪,有效规避专利失效风险。

监控看板

系统主页提供全景监控看板,通过八个核心数据卡片清晰展示各类预警信息:

监控看板
  • 7天内需缴费 & 30天内需缴费:高亮显示最紧急和近期的年费缴纳任务,下属子项(如1天内、3天内、15天内)便于进行优先级管理。
  • 异常状态:集中展示存在潜在风险的专利,如有权属瑕疵的“质押”状态、可能影响变更的“非离线申请”、以及产生额外成本的“恢复”状态。
  • 监控状态预警:展示系统监控服务有效期小于30天的专利数量。“监控完成”指对于“我卖出的”专利,其变更流程已全部结束。
  • 变更中专利 & 未变更专利:跟踪专利变更流程(如待缴费、待审查),确保权属转移顺畅;超10天未变更数量便于提醒及时提交变更。
  • 监控中专利:按来源(我卖出的、我采购的、我关注的)分类统计,方便不同角色用户管理。
  • 待缴总额:直观展示近期资金需求,辅助财务规划。

提示:点击卡片或者子项均可快速筛选并查看对应列表。

为不同角色创造核心价值

专利监控系统针对专利价值链上的不同参与者,提供了差异化的价值点。

  • 对于资源方(专利出让方,分组为我卖出的):系统是您得力的“售后管家”。您可以实时监控已售出专利的变更进度(例如,购买方是否在约定时间内提交了变更申请)。一旦发现进度延误,可主动提醒客户方,确保权利顺利转移,减少售后纠纷,保障自身权益。
  • 对于客户方(专利购买方,分组为我采购的):系统是您可靠的“资产大管家”。它为您提供一站式解决方案,集中监控名下所有专利的年费缴纳日期和法律状态,有效避免因遗忘或漏缴年费导致的专利失效。同时,对于您发起的变更等流程,也可以清晰跟踪进度。
  • 对于渠道方(服务商/代理机构,分组为我关注的):系统是您提升服务能见度和客户黏性的“效率提升工具”。您可以统一管理众多客户的专利资产,通过系统预警主动向客户提供温馨提示(如“您公司的专利XYZ年费将于30天后到期”),变被动应答为主动服务,展现专业性与主动性,巩固客户关系。

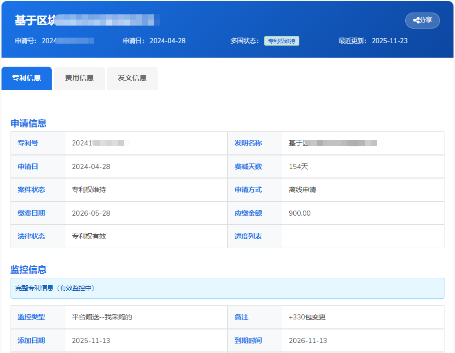
多国信息详情页

在监控列表中点击任意专利名称,即可进入该专利的多国信息详情页,获取最全面、结构化的专利信息。

多国信息
  • 专利信息:查看基本档案(申请号、名称、申请日等)、监控信息(类型、到期时间)、申请人/发明人、代理机构及著录项目变更历史。
  • 费用信息:提供多国“应缴费信息”、“已缴费信息”、“滞纳金信息”、“收据发文信息”等展示。
  • 发文信息:集中展示所有官方文书往来,如“通知书发文”(审查意见通知书、手续合格通知书等)和“证书发文”。

智能预警与通知

系统提供多层级、自动化的预警机制,确保您及时掌握动态:

年费提醒 变更进度提醒
  • 公众号每日推送:每天定时推送待处理事务概览。
  • 短信紧急提醒:对于进入关键期(如7天内需缴费)的专利,会额外发送短信进行强提醒。
  • 数据自动更新:系统定期(如每周)自动同步官方数据,确保信息时效性。

列表管理与批量操作

在专利列表页,您可以:

专利监控列表
  • 使用多维度筛选器(缴费状态、异常状态、变更状态、监控状态、分组标签)快速定位专利。
  • 勾选专利后进行批量操作,如“已缴费”(更新状态后该专利将从事先预警中移除)、“导出”数据或“删除”。
  • 点击“编辑”按钮,修改或补充单件专利的备注等信息。

网站域名

主域名

我们的官方主域名是 ​maizlb.com​(推荐)。您也可以访问超短的 ​mzl.wang。

​maizlb.com​

maizlb.com​ 源自我们平台名称【mai专利吧】的拼音首字母组合,代表了我们的核心业务。

"mai" 既代表买也代表卖,用户可以在我们平台买到心怡的专利,也可以卖出闲置的专利。

"zlb" 即是【专利吧】的拼音首字母组合。

​mzl.wang​

mzl.wang​ 买专利的网站/卖专利的网站

"mzl" 源自“买专利”或者“卖专利”的拼音首字母组合,代表了我们的核心业务

​用户自有域名​

我们充分理解品牌独立性的重要性。如果您希望使用自己的域名(例如:your-company.com)来访问您在mai专利吧的店铺(例如:maizlb.com/sss),通过简单的301永久重定向(301 Redirect)技术即可实现。这不仅能保持您品牌的统一形象,还能确保所有访问您自有域名的用户都能无缝、自动地跳转到正确的店铺页面。

客户与绑定规则

开发中。

这是 mai专利吧 的核心特色,保障您的客户资源永不流失。

自动绑定机制

客户通过您的专属链接访问并注册后,将自动永久绑定到您的名下,以后就算别人再发链接,客户也会自动跳回您的店里!您的客户资源牢牢攥在您自己手里。

自动跳转

提示:此内容仅对会员可见,普通用户无法查看。

价格与会员权益

登录后可查看专利价格。

设置服务费

您可以在【个人中心】自由设置服务费、联系方式等信息。

设置服务费

会员对比

基础会员满足基本需求,专业会员享更多高级功能。

会员权益

升级会员

登录后,在【会员权益与升级中心】点击"免费升级",即可成为基础会员。升级专业会员请查看下图所示。

升级会员

提示:此内容仅对会员可见,普通用户无法查看。

后台管理

【个人中心】管理您的备选清单、个人信息、客户列表、消息列表和修改密码。

常见问题 (FAQ)

Q: 看中多件专利怎么发给客户?

A: 在专利列表页、专利关注页,勾选您需要的专利,点击页面上方的"导出"按钮,再点击弹出对话框对应位置右上角的分享链接按钮。也可以直接导出Excel表格。

Q: 客户要看专利详情,怎么发?

A: 在专利列表页、专利关注页,点击申请号或名称自动打开专利详情页(包括摘要、著录项目等),点击右上角的"分享"按钮。